Es ist ein neues Patent von Sony in Japan aufgetaucht welches wohl ein möglichen Nachfolger der PlayStation Move Controller zeigt. Besonders Interessant an dem neuen Controller Design ist der verbaute Joystick sowie die Mechanik, die sich im Griff des neuen Controllers zu befinden scheint.
PlayStation Move Nachfolger?
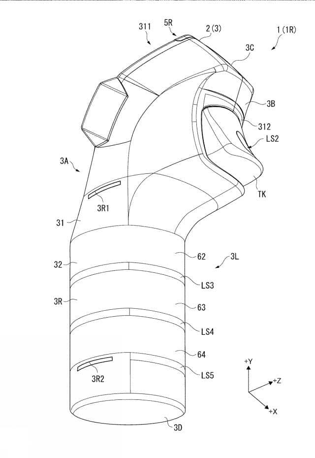
Das unter der Patentnummer 2018-735 (P2018-735A) veröffentliche Patent in Japan könnte den möglichen Nachfolger der aktuellen PlayStation Move Controller zeigen. Was auf den ersten Blick auffällt, ist neu hinzugekommene Joystick mit dem nun endlich auch vernünftige Bewegungen innerhalb von VR möglich sind. Bisher waren alle Lösungen eher suboptimal.
Zudem fehlt der große Leuchtball den wir an den aktuellen PlayStation Move Controller finden. Es scheint also das wir hier einen möglichen Controller für die nächste oder übernächste Generation der PlayStation VR sehen.
Ansonsten finden wir eine reihe eher Undefiniertbare Buttons auf der Oberseite des Controllers. Viel interessanter könnte allerdings der Griff des neuen Controllers sein. Der untere Teil scheint in drei Segmente aufgeteilt zu sein welches für so positioniert wurde das dort der Kleine Finger, Ringfinger und Mittelfinger positioniert sind. Hinter jedem dieser Segmente verbirgt sich ein Konstrukt aus einem Motor und verschiedenen Elementen, die mit Zahnrädern ausgestattet sind.
Schaut man sich die Beschreibung des Patentantrages an, so versucht Sony mit dem neuen Controller ein Tastsinn zu vermitteln. Es ist also vorstellbar das wenn ihr ein Objekt in den Händen haltet welches eine unterschiedliche Form hat sich der Controller bei den drei Fingern entsprechend ausdehnt oder einzieht. So möchte Sony die Oberfläche des in den Hand haltenden Objektes innerhalb der VR zu simulieren.

Diesen Ansatz versuchen bereits andere Firmen mit unterschiedlichsten Controller Designs umzusetzen. Bisher allerdings hat es noch keiner der Controller auf den Markt geschickt.
Wie immer bei Patenten heißt es, das Sony hier eine Idee für die Lösung eines Problems sich vorstellt. Ob dieses so wirklich umgesetzt wird, steht noch in den Sternen. Es zeigt lediglich was ein Unternehmen wie Sony sich vorstellt und das sie auch an der Entwicklung neuer Möglichkeiten sind.




