Wie der NeoGAF Nutzer Rösti herausgefunden hat, gibt es laut Patent ein Virtual Reality Headset für die Nintendo Switch. Bei der Ankündigung der Nintendo Switch sind eigentlich alle sicher gewesen das Nintendo nicht auf den VR Zug aufsteigen wird.
Bedenkt man die Bauweise der Nintendo Switch ist es eigentlich auch nicht groß verwunderlich, dass Nintendo an einem VR Headset gedacht hat. So lässt sich die Switch von einer stationären Konsole mir nur wenigen Handgriffe in einen Handheld verwandeln.
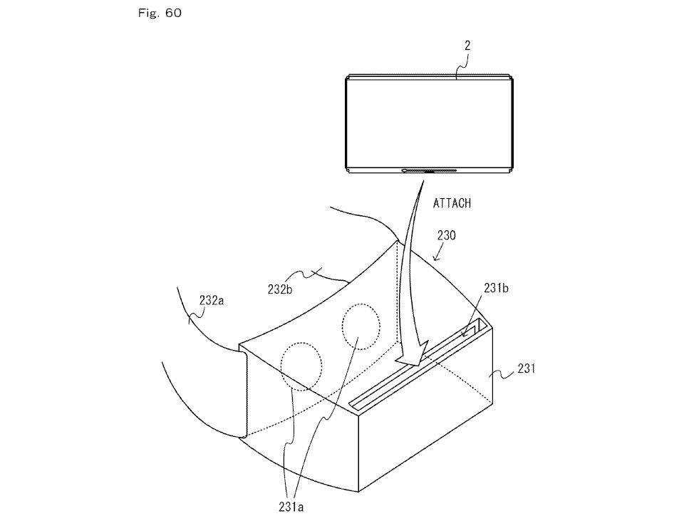
Laut dem Patent könnte das VR Headset von der Switch wie ein Google Daydream oder Samsung Gear VR verhalten. Sprich es gibt eine Brille und die eigentliche Switch Konsole wird in diese geschoben und dient somit als Display und Recheneinheit. Als Controller dienen weiterhin die der Switch auch schon beiliegen. Diese funktionieren auch in der tragbaren Version kabellos.

Zum Tracking scheint das VR Headset entsprechende Sensoren zu Verfügen da die Switch an sich wohl keine passenden Sensoren mit sich bringt.
Ob das Headset auf dem Markt kommt, ist natürlich noch nicht garantiert. Vor allem in der Hinsicht das die Switch wohl nur eine Auflösung von 720p besitzt und somit eigentlich nicht als Display für ein VR Headset funktionieren wird.




