Patentanträge sind immer wieder interessant da uns diese Zeigen woran einzelne Firmen arbeiten noch bevor dies meist vorgestellt werden. Dies ist nun auch bei Oculus passiert. Wobei diese Entwicklung nicht mehr geheim war. Es verrät uns allerdings ein paar neue Informationen zum Produkt.
Oculus arbeitet an VR Handschuhen
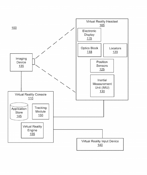
Motion Controller sind bisher die effektivsten Controller, wenn es um Virtual Reality geht. Allerdings ist das nicht das Optimale. Optimal wäre, wenn wir unsere Hände ganz ohne Controller im Spiel abbilden können. An Handschuhen die dies ermöglicht arbeiten bereits mehrere Firmen und natürlich auch Oculus.
Oculus nennt diese Technik „Optical Hand Tracking in Virtual Reality System“. Hierbei befinden sich am Handschuh keine IR-LEDs die dann mittels der Oculus Kameras getrackt werden können.
Wie immer gilt bei Patenten das diese so nicht unbedingt so auf dem Markt kommen müssen.



